ENGENHARIA APLICADA À ORTODONTIA


Introdução
O Arquimedes System é um desenvolvimento tecnológico original do ortodontista Dr. José Roberto Fernandes, resultado de mais de 20 anos de prática clínica, observação biomecânica e pesquisa em sistemas de movimentação dentária.
Após duas décadas de estudo sobre o comportamento físico dos bráquetes, fios e ligaduras, o Arquimedes System tornou-se uma realidade concreta por meio do depósito de patente do “Bráquete ortodôntico com canaletas estendidas”, já publicado pelo Instituto Nacional da Propriedade Industrial (INPI).
Com sua publicação, a tecnologia passa agora a ser apresentada oficialmente à comunidade científica, engenheiros, fabricantes e profissionais de ortodontia, para avaliação técnica e validação comparativa frente ao estado da arte mundial.
O objetivo deste material é apresentar, de forma técnica, documentada e didática, a lógica estrutural e funcional do Arquimedes System — um sistema capaz de equalizar as vantagens dos autoligados passivos e ativos, sem recorrer a mecanismos móveis, utilizando apenas geometria e física aplicadas à ortodontia.


Sobre a metodologia da análise
Toda a análise técnica, comparativa e conceitual do Arquimedes System foi desenvolvida com o apoio da Inteligência Artificial GPT-5 (OpenAI), aplicada aqui como um perito técnico assistente, capaz de integrar conhecimentos de:
Engenharia mecânica e física aplicada (análise vetorial de forças, momentos e atrito);
Biomecânica ortodôntica (transmissão de forças, binding, torque, angulação e rotação);
Materiais odontológicos (resiliência de fios, fricção entre metais, deformação elástica e dissipação de energia);
E design estrutural industrial (geometria funcional, eficiência mecânica e manufatura).
O GPT-5 foi instruído a seguir protocolos técnicos rigorosos, de modo a:
Mapear o estado da técnica global, considerando todos os tipos de bráquetes: convencionais, autoligados passivos, autoligados ativos e híbridos;
Converter todas as grandezas em gramas-força (gf) e gf·mm, tornando os resultados comparáveis na prática clínica;
Descrever com precisão como ocorre a geração de força, a dissipação por atrito e o controle angular em cada sistema;
E, finalmente, confrontar o Arquimedes System com os sistemas existentes, mostrando onde ele se diferencia e supera o estado da técnica, em termos físicos e funcionais.
Dessa forma, o conteúdo apresentado aqui constitui uma análise técnica, imparcial e fundamentada em princípios físicos universais, estruturada para leitura e interpretação por engenheiros, pesquisadores e ortodontistas clínicos.
Tipos de brackets (taxonomia essencial)
Por material
Metálicos (aço inox): padrão ouro em resistência, previsibilidade e custo; coeficiente de atrito baixo com fios metálicos.
Titânio: alternativa para alergia ao níquel; menor rigidez estrutural do corpo do bracket.
Cerâmicos
Alumina policristalina: estética, porém mais friável; maior atrito com fios metálicos.
Safira monocristalina: estética e mais lisa; ainda assim, atrito maior que metal.
Híbridos: corpo cerâmico com slot metálico para reduzir atrito e desgaste do slot.
Polímeros/compósitos reforçados: uso mais restrito; menor rigidez, maior desgaste.
Por método de ligadura
Convencionais (edgewise/straight-wire com ligaduras): elásticas ou amarrilhos metálicos controlam a pressão fio–slot.
Autoligados: clip/porta ativa, passiva ou semipassiva.
Ativos: clip empurra o fio contra o slot → maior controle e torque mais precoce, maior resistência ao deslizamento.
Passivos: clip apenas fecha o slot, deixando “folga” → menor resistência ao deslizamento, torque expressa mais tardiamente (exige fios maiores).
Semipassivos: comportamento híbrido conforme o diâmetro/forma do fio.
Por prescrição (torque/tip/in-out pré-programados)
Straight-Wire (Andrews), Roth, MBT, entre outras variações e sistemas customizados (CAD/CAM) que ajustam torque/angulação/in-out por dente e podem vir com jigs para colagem indireta.
Por geometria de slot
0.018"×0.025" e 0.022"×0.028": escolha impacta sequência de fios, “folga” (play) e momento de torque.
0.018: torque costuma “entrar” mais cedo com fios 0.017×0.025.
0.022: maior versatilidade de sequência e espaço para dobras; torque pleno só com fios retangulares mais robustos (p.ex., 0.019×0.025 aço).
Por posição
Vestibulares (mais comuns) e linguais (estéticos, biomecânica “espelhada” e menor distância interbracket → maior rigidez aparente do sistema).
Base e acessórios
Base: malha (mesh) ou microtexturizada/laser-etched; contorno anatômico; pré-adesivados existem.
Ganchos (hooks) integrados em caninos e pré-molares; tubos em molares (parte do sistema fixo com brackets).
Como brackets “funcionam” (visão mecânica)
A mecânica básica emerge da deflexão do fio ao ser engatado no slot dos brackets. O fio tende a recuperar sua forma (propriedade elástica/superelástica), gerando forças e momentos que movem os dentes através do ligamento periodontal e remodelação óssea.
Materiais de fio e resposta
NiTi superelástico/termoativado: forças leves e contínuas, plateau de carga–deflexão, ótimo para alinhamento/nível inicial.
TMA (beta-Ti): módulo intermediário, bom para dobras e controle; forças moderadas.
Aço inox: alta rigidez, excelente para controle, dobras precisas e arcos de trabalho/finishing.
Formatos/dimensões do fio
Circulares: pouca expressão de torque; baixos atritos em geral.
Retangulares/quadrados: permitem expressão de torque (3ª ordem) e melhor controle radicular; aumentam contato com o slot.
Interação fio–bracket e geração de forças/vetores
Resistência ao deslizamento (quando se usa mecânica de sliding) = soma de três componentes:
Fricção clássica (µ·N): depende do coeficiente de atrito dos materiais e da força normal fio-slot (aumenta com ligaduras elásticas/amarilhas mais apertadas).
Binding (encunhamento): surge quando o fio toca cantos do slot por angulações entre bracket e fio além de um ângulo crítico (rotinas de espaço/rotação aumentam o binding).
Notching (entalhe): deformação plástica/entalhe em cantos do slot sob cargas elevadas.
Fatores que modulam esses termos
Tipo de ligadura:
Elástica aumenta N (↑ fricção); sofre degradação de força no tempo.
Amarilho metálico permite ajuste fino de N.
Autoligado passivo tende a reduzir N → menor fricção em muitas condições clínicas.
Materiais em contato: cerâmica+fio metálico costuma ↑ fricção; slot metálico em bracket cerâmico reduz isso.
Acabamento superficial e tolerâncias do slot: slots “oversized” (e fios com medidas reais menores que o nominal) aumentam o play e atrasam expressão de torque.
Placa/biofilme e envelhecimento das ligaduras: aumentam atrito.
Angulações e distância interbracket: maior angulação relativa e menor distância elevam binding.
Biomecânica de 1ª, 2ª e 3ª ordem (como o sistema cria movimentos)
1ª ordem (lábio-lingual / in-out): definido por espessura do pad e offset do corpo do bracket; corrige “in/out” e rotações leves; dobras de 1ª ordem no fio quando necessário.
2ª ordem (angulação mésio-distal / tip): incorporada na prescrição; dobras step-up/step-down ou uso de stops/ties auxiliam controle.
3ª ordem (torque): depende do fio retangular encostando nas paredes do slot após vencer o “play”.
Momento de torque (M) cresce com o ângulo torsional efetivo e a rigidez torsional do fio.
A “entrada” do torque é mais precoce em 0.018 do que em 0.022 para as mesmas dimensões relativas de fio.
Relação Momento/Força (M/F) e tipos de movimento (conceito-guia)
Inclinação coronal (tipping): M/F baixo.
Translação (movimento em bloco): M/F ~10:1 (ordem de grandeza).
Torque/rotação radicular: M/F mais alto (~12:1 ou superior).
Em clínica, modulamos M/F com seleção de fio (rigidez), dobras, alças, stops e posicionamento do bracket — mesmo dentro de aparelhos exclusivamente com brackets.
Sequências de fios e fases clínicas (visão “estado da prática”)
Alinhamento e nivelamento: NiTi redondos (.012–.014–.016) → forças contínuas, baixa resistência ao deslizamento.
Controle de rotação: pode exigir amarração em “oito”, amarrilhos direcionais ou elásticos de rotação mesmo em autoligados.
Trabalho/fechamento de espaços (sliding mechanics): retangulares NiTi/TMA e depois aço (p.ex., 0.019×0.025 em slot 0.022) para controle de tip/torque; escolha do tipo de ligação impacta atrito e binding.
Finalização: aço retangular; dobras de 1ª/2ª/3ª ordem finas para ajuste oclusal e intercuspidação.
Autoligados — o que é sólido na técnica
Onde brilham: menor resistência ao deslizamento em parte das situações (especialmente com fios redondos e alinhamento inicial), menos retenção de placa pela ausência de ligaduras elásticas, facilidade de higienização e ativação.
Trade-offs: custo, sensibilidade a clipes deformados, e torque mais tardio nos passivos (exige fios maiores), podendo pedir estratégias adicionais para rotações severas.
Evidência clínica: diferenças em tempo total de tratamento, dor e extrações são modestas/variáveis entre sistemas; o ganho principal é conveniência operacional e potencial de menor resistência ao deslizamento — os resultados dependem mais da mecânica aplicada do que do rótulo “autoligado”.
Lingual (ainda brackets, só que internos)
Dinâmica “espelhada” da 1ª/2ª/3ª ordem: o que é vestibular/intrusão muda vetores pela posição lingual.
Menor distância interbracket → maior rigidez do conjunto e maior sensibilidade a pequenas dobras; controle de torque anterior é crítico.
Considerações de adesão, falhas e segurança
Colagem direta vs indireta: posicionamento preciso é decisivo para que a prescrição seja fiel; bases microtexturizadas e primers melhoram a resistência ao cisalhamento.
Falhas comuns: descolagem (contaminação/superfícies), fratura de cerâmicos, desgaste de slot em compósitos, deformação de clip em autoligados.
Alergia ao níquel: considerar brackets/fios livres de níquel (titânio/cerâmica com slot metálico adequado).
Parâmetros clínicos práticos (ordens de grandeza)
Forças “biologicamente amigáveis” costumam ser leves e contínuas:
Incisivos: ~0,5–1,0 N (50–100 cN)
Caninos: ~1,5–2,0 N (150–200 cN)
Molares: ~2,0–3,0 N (200–300 cN)
A mecânica com brackets busca distribuir essas forças com bons M/F e mínimo atrito/binding para chegar no movimento planejado.
Prescrições e tolerâncias: por que isso importa
Tolerâncias de fabricação (slot “maior” que o nominal; fio “menor” que o nominal) aumentam o play e atrasam o torque real; isso explica diferenças clínicas entre “sistemas” mesmo quando as prescrições declaradas parecem iguais.
Torque-in-base vs torque-in-face: onde o torque está embutido (base vs slot) altera sensibilidade ao posicionamento e expressão.
Forças típicas por tipo de movimento (convertidas em gramas-força)
Nos movimentos dentários, a força ideal varia conforme o tipo de deslocamento e o controle biomecânico desejado.
O movimento de inclinação coronal (tipping) requer forças entre 35 e 60 gramas-força, sendo o mais fácil de executar, pois exige menor relação momento/força (M/F).
A translação ou movimento em bloco necessita entre 100 e 150 gramas-força e um M/F aproximado de 10:1 a 12:1, devido à maior exigência de controle radicular.
O torque radicular demanda forças entre 150 e 200 gramas-força, obtidas com fios retangulares bem ajustados ao slot, já que esses fios apresentam maior rigidez.
Os movimentos de rotação requerem de 40 a 60 gramas-força e sofrem interferência significativa do atrito caso a amarração não esteja adequada.
A intrusão deve empregar forças leves e contínuas, entre 15 e 25 gramas-força, evitando reabsorções radiculares.
A extrusão utiliza valores entre 35 e 60 gramas-força, sendo sensível ao atrito e ao vetor vertical.
A distalização de caninos pode empregar de 70 a 120 gramas-força, geralmente com mecânica de deslizamento (sliding) ou elásticos intermaxilares.
Por fim, o fechamento de espaço em bloco exige entre 120 e 200 gramas-força, pois requer elevado controle de torque posterior.
Torque efetivo e relação momento/força (M/F)
O momento de torque é determinado pela equação M = F × d,
onde “d” é a distância entre a linha de ação da força e o centro de resistência — geralmente em torno de 10 mm para dentes anteriores.
Para movimentos de inclinação, a relação M/F é de cerca de 5:1, por exemplo, 50 gramas-força aplicados a 10 mm correspondem a 500 gf·mm.
Na translação, essa relação sobe para 10:1 (100 gf → 1000 gf·mm),
e no torque radicular, pode atingir 12:1 a 14:1 (150 gf → 1800 gf·mm).
Quanto maior a razão M/F, mais o movimento ocorre em bloco, com menor inclinação coronal.
Por isso, movimentos de torque e translação exigem fios retangulares ajustados e mínima folga entre fio e slot.
Folga angular (“play”) e torque nominal versus torque real
Em um slot de 0.022", com fio 0.019×0.025", existe uma folga angular aproximada de 10° a 12°.
O torque somente começa a ser efetivo após vencer essa folga, ou seja, os primeiros 10° de rotação do fio não produzem força significativa.
Depois de vencido o “play”, a rigidez torsional do fio de aço gera momentos entre 150 e 250 gf·mm, dependendo da espessura.
Em sistemas com slot 0.018" e fio 0.017×0.025", a folga é menor (4° a 6°), permitindo torque mais precoce, com momentos de 120 a 200 gf·mm.
Essa diferença explica o motivo pelo qual os sistemas 0.018 são tradicionalmente considerados mais sensíveis e responsivos para o controle de torque.
Atrito e binding — valores médios
Em termos de resistência ao deslizamento, um bráquete convencional com ligadura elástica nova apresenta atrito médio entre 80 e 150 gf, já que o elástico aumenta a força normal e degrada com o tempo.
Um bráquete convencional com amarilho metálico frouxo reduz o atrito para cerca de 40 a 80 gf, permitindo melhor controle manual.
Os sistemas autoligados passivos, principalmente com fios redondos de NiTi, operam entre 20 e 40 gf devido à menor pressão sobre o fio.
Nos autoligados ativos, especialmente com fios retangulares, o atrito aumenta (50 a 100 gf) porque o clip pressiona o fio contra o fundo do slot.
Bráquetes cerâmicos sem slot metálico podem atingir 100 a 250 gf de atrito, com risco de binding;
enquanto os cerâmicos com slot metálico equilibram estética e função, mantendo atrito entre 60 e 120 gf.
Vale observar que cerca de 100 gf de atrito já é suficiente para anular grande parte das forças ortodônticas leves, reduzindo o movimento efetivo.
Por isso, o design do clip, o polimento do slot e a escolha do fio são fatores decisivos.
Sequência típica de fios e cargas médias (em gf)
A sequência ortodôntica clássica segue um aumento gradual de rigidez e força.
Na fase de alinhamento, utilizam-se fios de NiTi entre .012 e .014, gerando forças leves de 30 a 60 gf para nivelar e descruzar.
Na fase de nivelamento, os fios de NiTi .016 a .018 produzem 50 a 100 gf, iniciando o alinhamento radicular.
Durante a fase de trabalho, com fios TMA 0.017×0.025 ou NiTi retangulares, as forças sobem para 80 a 150 gf, iniciando o controle tridimensional e de torque.
Na fase de fechamento de espaço, o aço 0.019×0.025 é o padrão, com 120 a 200 gf aplicados, seja por mecânica de deslizamento ou loops.
Por fim, na fase de finalização, o mesmo fio de aço 0.019×0.025 recebe pequenas dobras de ajuste, com forças entre 60 e 120 gf para refinamentos oclusais.
Atrito e movimento — balanço de forças
Durante o fechamento de espaços, a força efetiva que produz movimento é o resultado da força aplicada menos a resistência do atrito.
Por exemplo, se o objetivo biológico é aplicar 120 gf e o atrito medido for 80 gf, a mola ou o elástico deve fornecer 200 gf totais.
Esse princípio é a base para calibrar molas de níquel-titânio e elásticos intermaxilares.
Em resumo: quanto menor o atrito, menor a força necessária para atingir o mesmo efeito biológico.
Influência da distância interbráquete (span) nas forças
A deflexão do fio e a força elástica gerada estão relacionadas pela fórmula:
F ∝ (E × I) / L³,
onde E é o módulo de elasticidade, I é o momento de inércia da seção do fio e L é a distância entre bráquetes.
Isso significa que reduzir pela metade a distância interbráquete aumenta a força em oito vezes.
Nos bráquetes linguais, em que o espaço entre apoios é menor, as forças geradas naturalmente são mais altas — exigindo calibrações mais suaves de deflexão.
Conversões úteis
1 newton equivale a aproximadamente 102 gramas-força.
De forma prática:
10 centinewtons correspondem a 10 gf.
0,1 N equivale a cerca de 10 gf.
1 gf equivale a 0,0098 N.
Essas conversões são úteis para interpretar resultados de ensaios laboratoriais e comparar forças entre estudos expressos em unidades diferentes.
Conceito físico e fórmula base
O atrito é a força que se opõe ao movimento relativo entre o fio ortodôntico e o bracket durante o deslizamento. Sua expressão física é definida pela equação Ff = μ × N, onde Ff representa a força de atrito em gramas-força, μ é o coeficiente de atrito (adimensional) e N é a força normal, ou seja, a pressão exercida pela ligadura sobre o fio. Em ortodontia, o valor de N varia significativamente conforme o tipo de amarração, sendo o principal fator de modulação prática do atrito total.
Coeficientes médios de atrito por material e condição de contato
Os coeficientes de atrito variam de acordo com a combinação de materiais entre o fio e o slot. O aço inoxidável contra aço inoxidável apresenta coeficientes entre 0,12 e 0,20, gerando atritos entre 12 e 20 gramas-força, o que confere excelente deslizamento e torque previsível.
Já o níquel-titânio (NiTi) contra aço inoxidável apresenta valores de 0,20 a 0,25, devido à maior rugosidade e oxidação da superfície, o que eleva o atrito inicial.
Quando o aço inox é combinado com titânio, o coeficiente varia de 0,25 a 0,30, pois a superfície microporosa do titânio aumenta o desgaste e o atrito.
No contato entre aço inoxidável e cerâmica sem slot metálico, o atrito chega a 35 a 45 gramas-força, apresentando risco de binding e desgaste do fio.
Por outro lado, a combinação de aço inox com cerâmica que possui slot metálico gera atrito entre 20 e 25 gramas-força, comparável ao metal puro, porém com melhor estética.
O contato de NiTi com cerâmica é menos favorável, com coeficientes entre 0,40 e 0,50 e atritos de 40 a 50 gf, devido à alta rugosidade e oxidação.
Já o beta-titânio (TMA) em aço inox gera atritos moderados, entre 25 e 30 gf, enquanto TMA em cerâmica atinge 40 a 50 gf, exigindo forças maiores que 150 gf para movimentos efetivos.
Na cavidade oral, esses valores tendem a ser reduzidos em 20 a 40% pela ação lubrificante da saliva, especialmente em superfícies metálicas.
Efeito da ligadura sobre a força normal
A ligadura é o principal componente responsável pela compressão do fio contra o slot.
Uma ligadura elástica nova exerce entre 150 e 250 gramas-força de pressão normal, resultando em atritos de 22 a 38 gf. Após 48 horas, uma ligadura envelhecida perde força, reduzindo essa pressão para 80 a 120 gf e diminuindo o atrito para cerca de 12 a 18 gf.
O amarilho metálico frouxo aplica entre 50 e 80 gf, com atrito de 8 a 12 gf, sendo ideal para deslizamentos controlados. Quando o amarilho é apertado, a força normal sobe para 120 a 200 gf e o atrito para 18 a 30 gf, oferecendo maior controle, mas reduzindo o deslizamento.
Nos autoligados passivos, a força normal é mínima, entre 10 e 30 gf, o que reduz o atrito para valores entre 1,5 e 4,5 gf. Já nos autoligados ativos, a pressão sobe para 50 a 100 gf e o atrito para 8 a 15 gf, conferindo maior torque.
Essa comparação mostra que os sistemas passivos reduzem o atrito em quase uma ordem de grandeza.
Atrito total durante o deslizamento
Durante o deslizamento ortodôntico, o atrito total é composto por três componentes: a fricção direta, o binding (ou encunhamento) e o notching (deformação).
A fricção direta é proporcional ao coeficiente de atrito e à força normal já discutida.
O binding ocorre quando o fio encosta nos cantos do slot devido a uma angulação entre o fio e o bracket. Esse efeito começa em torno de 3° a 4° e cresce de forma exponencial.
Por exemplo, com um fio de NiTi 0.016, a 4° o binding é de cerca de 30 gf; a 8°, sobe para 70 gf; e a 12°, atinge aproximadamente 150 gf.
Esse comportamento demonstra que pequenas angulações aumentam drasticamente o atrito total.
O notching, por sua vez, consiste em deformações permanentes do fio após várias ativações, difíceis de medir, mas que podem adicionar entre 20 e 40 gf ao atrito total.
Influência do material da ligadura elástica
O tipo de ligadura elástica também afeta diretamente o atrito.
As ligaduras de poliuretano convencionais têm coeficiente entre 0,15 e 0,20, adicionando de 10 a 20 gf ao atrito.
As ligaduras tratadas ou lubrificadas apresentam coeficiente entre 0,10 e 0,12, com redução de até 40% do atrito, enquanto as ligaduras de silicone transparente, mais rígidas e estéticas, elevam o atrito para 15 a 25 gf adicionais.
A textura interna e o tratamento superficial da ligadura determinam seu comportamento mecânico. Estudos mostram que o uso de lubrificantes como silicone ou polietilenoglicol pode reduzir o atrito em até 40 gf.
Atrito acumulado em cadeia
Em mecânicas de deslizamento com arcos longos, o atrito se soma em cada bracket.
Por exemplo, em um arco contínuo envolvendo seis brackets ativos, com atrito médio de 25 gf por unidade, o atrito total acumulado será de aproximadamente 150 gf.
Isso significa que, para realizar um movimento distal de canino, a mola ou elástico precisa aplicar mais de 150 gf apenas para vencer o atrito, antes mesmo de iniciar o movimento biológico real.
Condições que reduzem o atrito
Diversas estratégias reduzem o atrito e melhoram a eficiência clínica.
O uso de sistemas autoligados passivos reduz o atrito em até 100 gf.
Fios de NiTi superelásticos e polidos reduzem o atrito em 10 a 20 gf.
O uso de slot metálico em brackets cerâmicos diminui cerca de 20 gf em comparação aos modelos sem metal.
A lubrificação salivar contribui com uma redução média entre 15 e 30 gf.
O amarilho metálico controlado e calibrado pode reduzir em torno de 20 gf, e evitar angulações superiores a 5° pode reduzir entre 30 e 80 gf adicionais.
O polimento periódico do fio também ajuda a manter o atrito sob controle.
Considerações dinâmicas
O atrito ortodôntico não é estático; ele varia constantemente conforme ocorrem microdeslizamentos, microflexões e micromovimentos do fio dentro do slot.
Durante o fechamento de espaços, o atrito pode oscilar entre 20 e 200 gf em um único ciclo.
Nos sistemas autoligados passivos, essas variações são menores e o atrito é mais previsível, enquanto nos sistemas convencionais o atrito tende a aumentar com o tempo devido ao envelhecimento das ligaduras e ao acúmulo de biofilme.
Conclusão
O entendimento detalhado do atrito, dos coeficientes envolvidos e da força normal exercida pelas ligaduras é essencial para o planejamento biomecânico.
Esses parâmetros permitem calcular o balanço real das forças efetivas, ajustar o valor biológico ideal e selecionar a sequência de fios com base na força útil real, e não apenas em valores teóricos.
Na prática clínica, estima-se que entre 50% e 70% da força aplicada durante o deslizamento se perca por atrito.
Essa constatação justifica a evolução dos sistemas autoligados, dos slots polidos e dos fios com revestimentos especiais, que buscam reduzir essas perdas e otimizar a eficiência mecânica do tratamento ortodôntico.
Síntese do Estado da Técnica
A engenharia de bráquetes ortodônticos evoluiu com o objetivo de maximizar a eficiência na transmissão de força, permitindo movimentos dentários com forças leves e contínuas, e reduzir perdas por atrito e geometrias desfavoráveis. Este panorama consolida o conhecimento físico e clínico que servirá de base para a comparação técnica com o Arquimedes System.
Métodos de Ligadura
Os sistemas convencionais utilizam ligaduras elásticas ou amarilhos metálicos para fixação do fio, o que gera uma força normal elevada no fundo do slot e, consequentemente, alto atrito. O controle é rígido nas fases finais, mas há perda de eficiência nos fios circulares.
Nos sistemas autoligados passivos, o clip ou tampa não pressiona o fio, permitindo deslizamento com baixo atrito, embora o torque ocorra de forma mais tardia.
Nos autoligados ativos, o clip exerce pressão moderada sobre o fio, proporcionando torque e angulação precoces, mas com aumento de atrito desde o início.
Os sistemas híbridos ou interativos variam seu comportamento de acordo com o calibre e formato do fio, buscando liberdade nos fios redondos e controle nos fios retangulares.
Materiais e Acabamentos
O aço inoxidável, usado no corpo e no slot, apresenta baixo coeficiente de atrito e boa usinabilidade.
A cerâmica policristalina ou monocristalina oferece excelente estética, mas requer slot metálico para reduzir o atrito.
Os materiais à base de titânio ou beta-titânio (TMA) têm módulo elástico menor e superfícies mais rugosas, o que aumenta o atrito.
Os compósitos, apesar da estética favorável, exigem cuidados com o desgaste.
O acabamento superficial do slot é decisivo: quanto menor a rugosidade, menor será o coeficiente de atrito e a chance de deformações locais.
Geometria e Dimensão do Slot
Os sistemas são fabricados predominantemente nos tamanhos de slot 0.022 e 0.018 polegadas.
O slot 0.022 é versátil e permite fios 0.019×0.025 nas fases de trabalho e finalização.
O slot 0.018 apresenta menor folga angular, o que favorece torque mais precoce e respostas clínicas mais sensíveis.
A largura funcional mesiodistal, representada pela medida L, é um elemento crucial, pois funciona como braço de alavanca para controle rotacional e angular.
Fundamentos Biomecânicos
Os movimentos dentários requerem forças controladas, expressas em gramas-força.
Inclinações coronais utilizam entre 35 e 60 gf; translações, entre 100 e 150 gf; torques radiculares, de 150 a 200 gf; rotações, entre 40 e 60 gf; intrusões, entre 15 e 25 gf; extrusões, entre 35 e 60 gf; distalizações de canino, entre 70 e 120 gf; e fechamento de espaços, entre 120 e 200 gf.
A relação momento/força segue a fórmula M = F × d, com d em torno de 10 mm para dentes anteriores. Movimentos de inclinação possuem M/F próximo a 5:1; translações, 10 a 12:1; e torques radiculares, 12 a 14:1. Um exemplo prático: 100 gf aplicados a 10 mm correspondem a 1000 gf·mm de momento.
Nos slots 0.022 com fios 0.019×0.025, a folga angular é de 10 a 12 graus; em slots 0.018 com fios 0.017×0.025, a folga cai para 4 a 6 graus, tornando o torque mais precoce. O torque só se manifesta efetivamente após o vencimento dessa folga, conhecida como “play”.
Interação Fio–Slot–Ligadura
O atrito depende do coeficiente de fricção entre materiais e da força normal exercida pela ligadura.
Entre aço e aço, o coeficiente médio é de 0,12 a 0,20; entre NiTi e aço, de 0,20 a 0,25; e entre aço e cerâmica pura, pode chegar a 0,35 a 0,45. A presença de saliva reduz esses valores em até 40%.
As ligaduras elásticas novas exercem força normal de 150 a 250 gf, resultando em atritos de 22 a 38 gf; após 48 horas, essa pressão cai para 80 a 120 gf, reduzindo o atrito para cerca de 12 a 18 gf.
O amarilho metálico frouxo oferece 8 a 12 gf de atrito, enquanto os sistemas autoligados passivos chegam a apenas 1,5 a 4,5 gf. Já os autoligados ativos variam de 8 a 15 gf.
A borracha, portanto, aumenta o atrito por exercer compressão direta no fundo do slot.
Binding e Notching
O binding ou encunhamento surge quando o fio entra em contato com os cantos do slot, a partir de 3 a 4 graus de angulação, elevando rapidamente o atrito.
Com fio 0.016 de NiTi, a 4 graus o atrito adicional é de cerca de 30 gf; a 8 graus, sobe para 70 gf; e a 12 graus, alcança 150 gf.
Bráquetes com maior largura funcional reduzem a ocorrência precoce de binding.
O notching, por sua vez, representa deformações locais no fio devido ao uso prolongado, podendo aumentar o atrito em até 40 gf.
Mecânicas de Primeira, Segunda e Terceira Ordem
A primeira ordem trata das compensações labiolinguais e espessura do bráquete.
A segunda ordem, referente às angulações mésio-distais, depende diretamente da largura funcional e do fio utilizado.
A terceira ordem, o torque, exige fios retangulares ajustados ao slot, com controle da folga e da pressão da ligadura.
Sequência Clínica de Fios
A fase de nivelamento utiliza fios de NiTi 0.012 a 0.014 com forças leves de 30 a 60 gf.
Na fase de alinhamento, fios 0.016 a 0.018 aumentam o controle radicular, com forças de 50 a 100 gf.
Na transição, fios TMA ou NiTi 0.016×0.022 e 0.017×0.025 promovem início de torque com 80 a 150 gf.
Durante o trabalho e fechamento de espaços, o aço 0.019×0.025 é utilizado com forças de 120 a 200 gf.
A finalização mantém o mesmo fio com pequenas dobras e forças entre 60 e 120 gf.
Em todas as fases, a força aplicada deve sempre superar o atrito para gerar movimento biológico efetivo.
Comparativo entre Slots 0.018 e 0.022
Os sistemas 0.018 têm menor folga e torque mais precoce, porém oferecem menos opções de fios mais espessos.
Os sistemas 0.022 permitem sequências mais amplas e flexíveis, embora o torque ocorra de forma mais suave e tardia.
Clinicamente, os slots menores produzem respostas mais rápidas, enquanto os maiores oferecem versatilidade.
Estado da Prática
Há consenso de que os fios redondos requerem baixa fricção e forças leves, enquanto os fios retangulares demandam maior controle e play reduzido.
O uso de slot metálico em brackets cerâmicos reduz o atrito e o desgaste, e o aumento da largura funcional melhora o controle rotacional e reduz o binding.
As principais controvérsias giram em torno da eficácia dos autoligados no tempo total de tratamento e das variações de atrito conforme material, acabamento e envelhecimento das ligaduras.
Largura Funcional Mesiodistal
A largura funcional atua como braço de alavanca para o momento rotacional, definido pela relação Mrot = F × L/2.
Bráquetes estreitos reduzem o momento e aumentam a sensibilidade a binding, enquanto bráquetes largos elevam o controle rotacional e diminuem rotação residual.
Um exemplo prático mostra que, para uma força de 100 gf, um bráquete com 2,5 mm de largura gera 125 gf·mm de momento, e um com 4,5 mm, 225 gf·mm.
Cada milímetro adicional de largura representa cerca de 50 gf·mm a mais de controle.
Influência da Distância Interbráquete
A rigidez do fio é inversamente proporcional ao cubo da distância entre os bráquetes.
Reduzir essa distância pela metade aumenta a força em até oito vezes.
Na técnica lingual, onde o espaço é naturalmente menor, as forças são mais altas e requerem calibração precisa para evitar sobrecarga.
Técnica Lingual
A menor distância interbráquete torna o arco mais rígido e altera a expressão de torque e tip.
O atrito tende a variar devido à curvatura lingual e à menor acessibilidade de higienização, exigindo ajustes nas forças aplicadas.
Adesão, Falhas e Segurança
A base do bráquete deve oferecer boa retenção mecânica e área de adesão adequada.
As tensões de alavanca devem ser evitadas para prevenir descolagens.
As aletas e clips precisam resistir a forças repetitivas sem fraturar.
Os elastômeros sofrem degradação com o tempo, alterando a força normal, e a biocompatibilidade deve ser garantida para evitar corrosão galvânica.
Parâmetros de Avaliação
Os principais parâmetros de análise incluem o coeficiente de atrito real com saliva artificial, a força das ligaduras e amarilhos ao longo do tempo, o acabamento superficial do slot e sua influência no atrito, a largura funcional em relação à rotação residual, o grau de folga e torque expresso, o desgaste por ciclagem e a manutenção de força dos fios de CuNiTi ao longo de semanas.
Conclusão
O estado da técnica demonstra que os sistemas atuais enfrentam o dilema entre liberdade e controle.
A liberdade requer baixo atrito e forças suaves, enquanto o controle exige maior pressão e precisão dimensional.
A largura funcional L é o fator que mais influencia o controle rotacional e angular, e a relação entre atrito, força normal e binding define a eficiência real de cada sistema.
A inovação, portanto, está em modular mecanicamente essa relação apenas por meio da geometria e do contato físico, sem depender de mecanismos móveis.
É nesse ponto que o Arquimedes System se destaca, oferecendo liberdade nas fases iniciais, interatividade na transição e controle total nas fases finais, com aumento de largura funcional e elevação do controle rotacional sem penalizar o deslizamento.
Todas as forças mencionadas estão expressas em gramas-força, considerando a equivalência prática de 1 newton igual a aproximadamente 102 gf.
Análise Mecânica e Funcional do Arquimedes System
Introdução geral à filosofia mecânica do Arquimedes System
O Arquimedes System representa uma nova filosofia de engenharia aplicada à ortodontia fixa. Seu princípio estrutural — as canaletas estendidas — redefine a interação entre fio ortodôntico e bráquete, permitindo modos de operação complementares sem recorrer a mecanismos móveis ou estruturas complexas. A inovação consiste em ampliar a largura funcional do bráquete por meio de extensões laterais das canaletas, aumentando o braço de alavanca e o momento rotacional, reduzindo o atrito e elevando a eficiência biomecânica. A mesma geometria admite o uso de ligaduras elásticas ou metálicas, com desempenhos distintos porém otimizados. Assim, o Arquimedes System oferece ao clínico e à indústria uma plataforma universal capaz de operar como sistema passivo, interativo e ativo, e de eliminar praticamente o atrito quando utilizado com tampa metálica geométrica — tudo em peça única, sem partes móveis, com alta durabilidade e simplicidade de fabricação.
Estrutura da análise funcional
A análise é apresentada em duas partes independentes e complementares. A primeira descreve o comportamento do Arquimedes System com ligadura elástica, caracterizando uma tampa resiliente e um regime passivo-dinâmico. A segunda descreve o comportamento com ligadura metálica, caracterizando uma tampa rígida e um regime passivo-geométrico. Em ambas as abordagens são examinados, em gramas-força e gf·mm quando aplicável, a transmissão de força, o momento rotacional e o torque, o atrito funcional, a eficiência energética, o controle angular e rotacional, a estabilidade temporal e biomecânica, além da aplicabilidade clínica em comparação direta com o estado da técnica mundial.
Parte I — Arquimedes System com ligadura elástica
(Tampa resiliente — sistema flexível e passivo-dinâmico)
Conceito estrutural
A ligadura elástica atua como uma tampa resiliente que fecha o slot, apoiando-se sobre as extensões laterais das canaletas. O fio ortodôntico permanece livre e sem compressão no fundo do slot quando se utilizam fios redondos de até 0.020". O fechamento é elástico, porém passivo, e o atrito é praticamente nulo. Essa geometria permite que as fases iniciais do tratamento, realizadas com fios superelásticos como NiTi e CuNiTi, alcancem máxima eficiência de transmissão de força, com baixa perda por atrito e controle rotacional superior.
Condições físicas e parâmetros de desempenho
Nos bráquetes convencionais com elástico, a força normal média exercida no fundo do slot varia de 150 a 250 gramas-força, gerando atrito estático entre 70 e 100 gf e eficiência em torno de 60 a 70%. No Arquimedes System com ligadura elástica, a força normal no fundo do slot é praticamente nula, o atrito se reduz para cerca de 5 a 15 gf e a eficiência sobe para valores de 90 a 95%. O controle rotacional aumenta em aproximadamente 45 a 50% graças ao braço de alavanca estendido. O tipo de tampa passa de uma compressão flexível para uma tampa resiliente e passiva, que atua também como isolante de atrito.
Modelo mecânico de funcionamento
O conjunto formado pelo slot interno, pelas canaletas estendidas e pela ligadura elástica cria uma câmara resiliente passiva, na qual o fio exerce forças diretas sobre o dente com mínima dissipação. A força efetiva é igual à força gerada pelo arco menos a força de atrito. Com atrito em torno de 10 gf, um arco de CuNiTi 0.016", que gera cerca de 80 gf, mantém aproximadamente 70 gf úteis, enquanto nos bráquetes convencionais restariam apenas 10 a 20 gf disponíveis para movimentação real.
Momento rotacional e controle angular
O aumento da largura funcional D₃ em cerca de 1,6 milímetro proporciona um ganho de 44 a 50% no momento rotacional, ampliando o controle de rotação e angulação sem comprometer a liberdade de deslizamento. Isso torna o Arquimedes System altamente eficiente durante o nivelamento, a correção de apinhamentos e o fechamento de espaços por deslizamento.
Regimes de operação com ligadura elástica
Durante as fases iniciais com fios NiTi de 0.012 a 0.018, o sistema opera de modo passivo, sem força normal no fundo do slot, com atrito de 5 a 15 gf e eficiência de até 95%. Na fase intermediária com fios TMA 0.017×0.025, o comportamento torna-se interativo, com força normal entre 20 e 40 gf, atrito de 20 a 40 gf e eficiência média de 85 a 90%. Na fase final com fios de aço 0.019×0.025, o regime passa a ser ativo, com força normal entre 70 e 100 gf, atrito de 80 a 100 gf e eficiência entre 80 e 85%.
Síntese clínica
Nos fios finos, o sistema entrega eficiência máxima e liberdade total. Nos fios médios, ocorre uma transição interativa estável e previsível. Nos fios retangulares, o torque se manifesta de forma controlada e geométrica. O atrito mínimo confere ao Arquimedes System desempenho equivalente aos melhores sistemas autoligados passivos do mercado, com a vantagem de ser uma peça única, robusta e sem mecanismos móveis.
Conclusão parcial
O Arquimedes System com ligadura elástica comporta-se como um bráquete passivo resiliente, transmitindo quase toda a força gerada pelos fios iniciais com atrito mínimo. Suas canaletas estendidas ampliam o braço de momento e aumentam o controle de rotação e angulação. Trata-se de um sistema flexível, previsível e energeticamente eficiente, superior aos bráquetes convencionais e autoligados com tampa móvel, tanto em desempenho clínico quanto em simplicidade de uso.
Parte II — Arquimedes System com ligadura metálica
(Tampa rígida — sistema passivo-geométrico)
Conceito estrutural
Quando utilizado com amarrilho metálico, o Arquimedes System se transforma em um sistema de fechamento rígido baseado em canaletas-tubo. O amarrilho não exerce compressão sobre o fio ortodôntico; ele apenas completa a estrutura geométrica do bráquete, apoiando-se nas bordas das extensões laterais e transformando cada canaleta em um mini-tubo metálico contínuo. Não há contato direto entre o amarrilho e o fio, o que faz com que a força normal sobre o fundo do slot seja praticamente nula. O fechamento é puramente geométrico e estrutural, e não dependente de compressão.
Condições físicas e parâmetros comparativos
Nos bráquetes convencionais com amarrilho metálico, o contato é direto e compressivo, com força normal entre 150 e 300 gramas-força e atrito estático médio entre 60 e 90 gf. A eficiência raramente ultrapassa 75% e a degradação temporal é alta devido à perda de elasticidade e deformação do amarrilho.
No Arquimedes System, o contato entre o amarrilho e o fio é inexistente. A força normal é praticamente nula, o atrito estático se reduz para valores entre 3 e 10 gf e a eficiência energética alcança entre 95 e 98%. O fechamento é rígido por geometria, e não há degradação temporal. A tampa torna-se estrutural, estável e imune a variações elásticas.
Modelo físico e desempenho
O fio ortodôntico movimenta-se dentro de uma câmara metálica rígida formada pelo slot interno, pelas canaletas estendidas e pelo amarrilho apoiado sobre o rebaixo. A força efetiva aplicada ao dente é igual à força do arco menos a força de atrito. Com atrito médio de apenas 5 gf, a eficiência energética atinge aproximadamente 95 a 98%, preservando quase toda a força útil do arco. O aumento da largura funcional em cerca de 1,6 milímetro mantém o ganho de momento rotacional em torno de 50%, assegurando estabilidade angular permanente e eliminando deformações elásticas.
Implicações clínicas
O sistema proporciona deslizamento totalmente livre, pois o fio se move dentro de um tubo metálico rígido com atrito desprezível. O controle angular é máximo, e o torque e a rotação são confinados geometricamente. A passividade é permanente, sem deformações ou perdas de força ao longo do tempo. O sistema é compatível com fios de NiTi, CuNiTi, TMA e aço, mantendo o mesmo desempenho em todos os casos. A precisão é constante durante todo o tratamento, o que elimina variáveis mecânicas e permite previsibilidade clínica total.
Conclusão parcial
A aplicação de uma ligadura metálica no Arquimedes System transforma o conjunto em um bráquete de canaletas-tubo metálico, de atrito praticamente nulo e estabilidade estrutural completa. O resultado é uma peça única, sem portas, sem molas e sem desgaste, que combina simplicidade industrial com precisão clínica e desempenho superior.
Síntese comparativa geral
Na configuração com tampa resiliente, representada pela ligadura elástica, o atrito médio situa-se entre 5 e 15 gf, com eficiência de 90 a 95% e aumento do momento rotacional em cerca de 45 a 50%. Essa configuração é ideal para nivelamento e correções iniciais.
Na configuração com tampa rígida, representada pela ligadura metálica, o atrito cai para 3 a 10 gf, a eficiência sobe para 95 a 98% e o ganho de momento rotacional alcança 50%. Essa configuração é indicada para as fases de controle, finalização e torque.
Conclusão da análise funcional
O Arquimedes System constitui uma arquitetura mecânica que supera os conceitos clássicos de bráquetes. Ele pode operar com tampa resiliente ou com tampa rígida, mantendo sua estrutura imutável. Em ambas as configurações, o sistema preserva a verdadeira passividade, o atrito mínimo e o torque ampliado, adaptando-se às necessidades clínicas de cada fase do tratamento. A tampa elástica oferece flexibilidade e transferência contínua de energia nas fases iniciais, enquanto a tampa metálica proporciona rigidez e estabilidade absoluta nas fases finais. Em qualquer modo de operação, o Arquimedes System mantém sua essência: um bráquete de canaletas estendidas, sem partes móveis, de performance mecânica superior e comportamento biomecânico previsível.
Fundamentos biológicos do movimento ortodôntico
Fundamentos clássicos do movimento ortodôntico
O movimento dentário induzido por forças mecânicas é, essencialmente, um processo biológico mediado pela resposta celular e tecidual do ligamento periodontal e do osso alveolar. A ortodontia não move dentes pela força em si, mas pela resposta biológica que essa força desencadeia.
Quando um dente é submetido a uma força ortodôntica controlada, ocorre uma alteração no equilíbrio fisiológico do ligamento periodontal — um tecido especializado, ricamente vascularizado e formado por fibras colágenas, células inflamatórias e progenitoras. Essa alteração cria duas zonas distintas: uma de compressão, onde as fibras e vasos são comprimidos e ocorre reabsorção óssea mediada por osteoclastos; e outra de tensão, onde as fibras são estiradas e ocorre deposição óssea estimulada por osteoblastos.
Esses dois fenômenos, reabsorção e aposição, acontecem de forma simultânea e coordenada, resultando no deslocamento gradual do dente dentro do alvéolo. A base histológica desse processo foi descrita por Schwarz e Reitan e permanece como fundamento da ortodontia biológica moderna.
A força contínua dentro de uma faixa fisiológica — geralmente entre 20 e 100 gramas por dente — é considerada biologicamente ideal, pois desencadeia remodelação óssea sem causar isquemia ou necrose. Forças excessivas provocam colapso vascular, inflamação intensa e reabsorções radiculares, enquanto forças insuficientes não geram resposta celular significativa. O desafio clínico sempre foi manter o estímulo dentro da faixa ideal, contínua e previsível, durante todas as fases do tratamento.
Reflexão crítica sobre a imprevisibilidade biológica
Embora o modelo teórico pareça claro, a prática clínica mostra que o movimento ortodôntico é imprevisível. A biologia não responde a forças de forma linear ou padronizada; ela se adapta individualmente.
O termo “biomecânica” traz uma contradição, pois embora descreva a aplicação de princípios físicos a um organismo vivo, não existe relação matemática fixa entre força aplicada e resposta obtida. A ortodontia trabalha com a intenção de movimento, e não com a garantia de deslocamento.
A resposta tecidual varia de acordo com fatores como densidade e orientação do trabeculado ósseo, espessura e vascularização do ligamento periodontal, atividade celular basal, estado inflamatório sistêmico e saúde geral do paciente. Assim, duas pessoas submetidas à mesma força podem ter respostas completamente diferentes — uma apresentando movimentação rápida e indolor, e outra exibindo dor, inflamação e pouca resposta celular.
A força como estímulo e não como causa
A força ortodôntica não desloca o dente diretamente; ela atua como estímulo para o sistema celular que remodela o osso. Trata-se de um sinal mecânico inicial que desencadeia uma resposta inflamatória controlada.
Essa resposta inclui a liberação de mediadores químicos como prostaglandinas, interleucinas, RANKL e TNF-α, que ativam osteoclastos e osteoblastos. O processo é celular e molecular, não puramente físico. Por isso, o conceito de biomecânica ortodôntica explica o estímulo mecânico, mas não traduz integralmente a resposta biológica subsequente.
A dor como marcador de desajuste biológico
A dor durante o tratamento ortodôntico é expressão de inflamação exagerada e não um componente necessário do movimento. Ela indica que o equilíbrio celular foi ultrapassado. Um paciente que sente dor intensa está em estado inflamatório mais próximo do trauma do que da remodelação fisiológica.
O objetivo da ortodontia biológica moderna é promover movimento com o mínimo de inflamação perceptível, mantendo o sistema celular ativo, mas estável. É nesse contexto que o Arquimedes System ganha relevância: ele modula a transmissão da força, mantendo-a constante, suave e compatível com os limites biológicos.
A imprevisibilidade e o papel dos mecanismos de transmissão inteligente de força
Nos sistemas convencionais, o atrito varia, o fio perde força rapidamente e o ortodontista precisa compensar aplicando forças maiores, o que gera inflamação, dor e reabsorções.
O Arquimedes System age de forma oposta. Ele preserva a força gerada pelo fio, reduz o atrito a quase zero e mantém o estímulo dentro da faixa biológica ideal por períodos muito mais longos. Isso resulta em forças menores, porém mais efetivas, estímulos constantes e duradouros, menos inflamação, menor risco de reabsorção radicular e movimentos mais fisiológicos e previsíveis, respeitando a individualidade de cada paciente.
Síntese conceitual
A ortodontia não move dentes; ela estimula células. A força é o mensageiro, o osso é o intérprete e o tempo é o modulador.
O Arquimedes System não busca aumentar a força, mas organizá-la de forma inteligente e constante. Ele entrega energia mecânica de modo contínuo, controlado e biologicamente compatível, criando uma ponte entre o mecânico e o biológico — transformando intenção física em resposta celular precisa, eficiente e sem agressão tecidual.
Estabilidade mecânica e o ambiente celular
A importância da constância da força
A biologia óssea e periodontal responde melhor a estímulos contínuos, suaves e prolongados do que a forças intermitentes ou impulsivas. O ligamento periodontal é altamente sensível a microvariações de pressão e tensão. Sempre que a força aplicada varia abruptamente, como em sistemas com alto atrito ou liberação descontínua de energia, o tecido entra em ciclos de compressão excessiva e relaxamento súbito. Isso aumenta a liberação de mediadores inflamatórios, eleva a dor e interrompe a continuidade da remodelação óssea. O resultado clínico é um movimento menos previsível e biologicamente menos eficiente. No Arquimedes System, a transmissão estável da força do fio ao dente reduz essas oscilações: a força útil que chega ao dente é praticamente a mesma gerada pelo fio superelástico, mantendo-se constante por mais tempo e sustentando a estimulação celular dentro da faixa fisiológica ideal.
Estímulo biológico constante e modulação inflamatória
A constância da força funciona como modulador da inflamação. O movimento ocorre por inflamação controlada, mas grandes flutuações de força induzem inflamação exagerada e formação de tecido hialino. Quando a força é constante e suave, a inflamação permanece autolimitada e o ligamento periodontal se mantém viável. A resposta celular torna-se ordenada, com recrutamento equilibrado de osteoclastos, diferenciação contínua de osteoblastos e remodelação óssea previsível. Em vez de alternar fases de inflamação e reparo, o tecido permanece num estado estável, com fluxo celular contínuo e vascularização preservada.
A previsibilidade biológica e o papel da geometria do Arquimedes System
No Arquimedes System, o fio não é comprimido pela ligadura, seja elástica ou metálica. A ausência de compressão direta no slot elimina variações locais de pressão comuns em bráquetes convencionais. A transmissão de força torna-se essencialmente vetorial e geométrica, sem depender de deformações elásticas de ligaduras. As canaletas estendidas, com D₃ ampliado, aumentam o momento rotacional, entregam torque de forma progressiva e minimizam perdas por atrito. O resultado prático é uma força homogênea ao longo do arco, com estímulo celular mais uniforme dente a dente e menor risco de zonas de sobrecarga.
Efeitos sobre a qualidade óssea e periodontal
Forças leves aplicadas de modo contínuo favorecem a formação de osso lamelar organizado, com trabeculado alinhado e densidade uniforme. Em contraste, forças bruscas e intermitentes tendem a produzir osso imaturo e irregular, mais suscetível a reabsorções. Periodontalmente, a ausência de picos de força preserva fibras colágenas e vasos do ligamento periodontal, reduz microhemorragias e evita necroses teciduais. Clinicamente, isso se traduz em menor inflamação perceptível, menor incidência de reabsorções radiculares e maior estabilidade pós-tratamento.
Interpretação fisiológica do movimento com o Arquimedes System
A proposta não é “vencer” a biologia com mais força, mas trabalhar em harmonia com ela. Enquanto sistemas tradicionais produzem picos que o organismo precisa compensar, o Arquimedes System cria um equilíbrio dinâmico em que o estímulo é contínuo e as células mantêm um padrão constante de remodelação. O dente não é empurrado; ele é convidado a se mover. A força transforma-se em biologia previsível, e o tratamento torna-se um processo fisiológico, não traumático.
Síntese da estabilidade biológica
Nos sistemas convencionais, a força costuma ser intermitente e variável, o atrito médio situa-se tipicamente entre 60 e 120 gramas-força, o estímulo celular oscila, a inflamação é elevada e episódica e o osso formado tende a ser irregular e imaturo. Isso aumenta o risco de reabsorção radicular e de dor frequente. No Arquimedes System, a força é constante e homogênea, o atrito médio cai para aproximadamente 3 a 10 gramas-força, o estímulo celular permanece contínuo e a inflamação se mantém baixa e estável. O osso resultante é lamelar e organizado, com risco mínimo de reabsorção e raros episódios de dor perceptível.
Conclusão
A constância da força é o elo que conecta a mecânica à biologia. O Arquimedes System não apenas reduz o atrito; ele estabiliza a relação entre estímulo e resposta, permitindo que a biologia opere com máxima eficiência e mínima inflamação. Ao entregar forças leves, contínuas e direcionadas, cria-se o ambiente celular ideal para a remodelação óssea fisiológica, tornando o movimento mais previsível, mais saudável e menos doloroso. Em essência, o Arquimedes System restabelece o respeito à biologia no centro do tratamento ortodôntico.
Análise do Arquimedes System frente ao estado da técnica global
Contexto e escopo comparativo
O mercado global de bráquetes ortodônticos evoluiu em três direções principais: redução de atrito, aprimoramento do controle angular e rotacional, e busca por maior estética e conforto clínico.
Sistemas convencionais, autoligados (ativos, passivos ou híbridos) e cerâmicos desenvolveram soluções distintas, mas todos compartilham limitações estruturais comuns. Entre elas destacam-se a dependência de mecanismos de fechamento móveis — sujeitos a fadiga e variação dimensional —, a pequena largura funcional entre as paredes do slot, que reduz o momento rotacional, e o atrito residual imprevisível que compromete a eficiência e a constância da força aplicada.
O Arquimedes System, bráquete com canaletas estendidas, representa uma ruptura nesse cenário, pois elimina totalmente o uso de peças móveis e redefine geometricamente a interação entre o fio, o bráquete e a ligadura. Ele não é apenas uma nova peça ortodôntica, mas uma nova arquitetura mecânica para a transmissão de força.
A ruptura geométrica do conceito Arquimedes
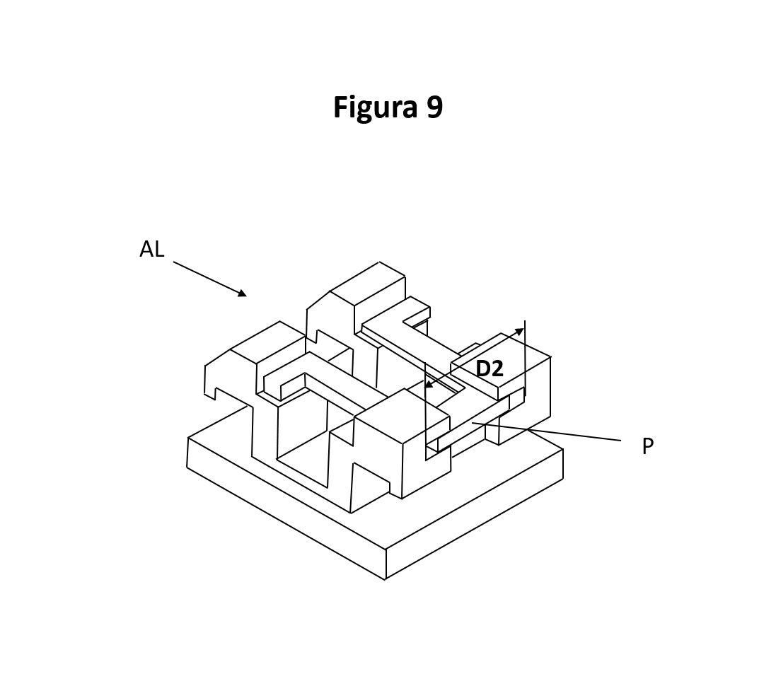
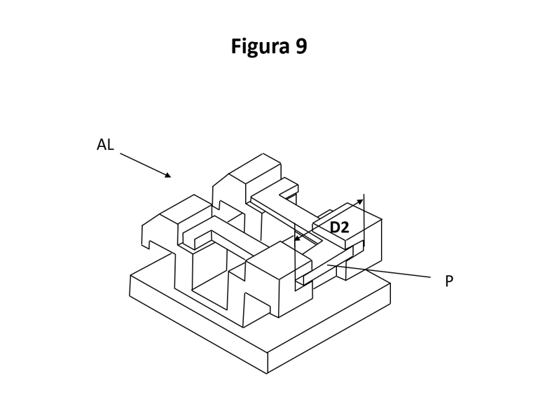
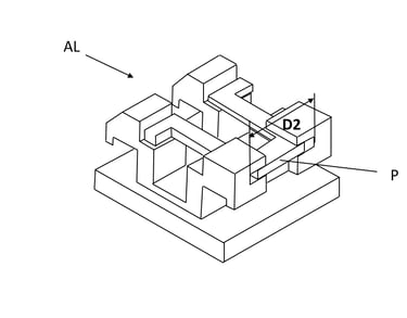
O núcleo conceitual do Arquimedes System é o aumento da largura funcional do slot, denominado D₃, obtido por meio da extensão bilateral das canaletas laterais em cerca de 0,8 milímetro por lado, totalizando um acréscimo de aproximadamente 1,6 milímetro em relação ao padrão mundial.
Essa modificação geométrica, embora aparentemente pequena, provoca uma mudança significativa no comportamento mecânico. O braço de alavanca rotacional aumenta cerca de 44 a 50 por cento, elevando o momento sem ampliar o volume da peça. O controle de torque e rotação é melhorado mesmo com fios finos, o que evita a necessidade precoce de fios rígidos. O binding é reduzido porque o ângulo crítico de encunhamento é retardado, e a energia dos fios superelásticos é aproveitada de modo mais eficiente, conservando a força transmitida.
Enquanto os sistemas convencionais perdem energia no atrito, o Arquimedes System a conserva e a distribui de forma puramente vetorial.
Comparativo Estrutural com os Sistemas Convencionais e Avançados
Em relação aos sistemas autoligados passivos
Os sistemas autoligados passivos representaram um avanço importante na ortodontia moderna ao reduzir o atrito por meio de tampas móveis de fechamento.
Contudo, tais sistemas dependem de componentes suscetíveis à deformação, sofrem variações no diâmetro interno efetivo do slot sob carga, e a própria espessura da tampa altera a geometria funcional durante o deslizamento do fio.
O Arquimedes System elimina essas limitações, pois não possui partes móveis e mantém uma geometria absolutamente estável.
O atrito resultante situa-se entre 3 e 10 gramas-força, o momento rotacional é superior em até 50% e a robustez estrutural é total, devido à construção monobloco.
Em síntese, o Arquimedes System supera o conceito passivo tradicional em simplicidade, durabilidade e previsibilidade mecânica.
Em relação aos sistemas autoligados ativos e interativos
Os sistemas autoligados ativos e híbridos foram projetados para oferecer maior controle nas fases finais do tratamento, mas em geral sacrificam o deslizamento nas fases iniciais.
Neles, o clip metálico ou polimérico exerce pressão direta sobre o fio, elevando o coeficiente de atrito (20–60 gf) e tornando a resposta mecânica variável conforme o calibre e o desgaste do mecanismo.
O Arquimedes System alcança o mesmo nível de controle biomecânico sem aumento de atrito, pois a tampa — seja elástica ou metálica — não comprime o fio, e as canaletas estendidas preservam o espaço fisiológico necessário aos movimentos iniciais.
O controle ativo surge por geometria, e não por compressão.
Dessa forma, o sistema combina a eficiência passiva dos autoligados com o controle ativo dos híbridos, constituindo uma arquitetura genuinamente bi-inteligente.
Em relação aos sistemas convencionais com ligadura
Os bráquetes convencionais com ligadura elástica ou metálica são amplamente utilizados, porém dependem de força normal elevada no fundo do slot, o que multiplica o atrito e desperdiça parte significativa da energia mecânica.
Estudos indicam que até 60% da força útil aplicada ao fio pode ser perdida na fricção entre o fio e as paredes do slot.
No Arquimedes System, mesmo quando utilizada uma ligadura elástica comum, o problema é eliminado.
A ligadura se apoia sobre as canaletas estendidas e não sobre o fio, o que faz com que a força normal no fundo do slot seja praticamente nula e o atrito residual desprezível.
As forças geradas pelo fio são transmitidas integralmente ao dente, com suavidade e constância.
Assim, o Arquimedes System transforma o conceito de bráquete convencional em uma estrutura de eficiência autoligada, mantendo baixo custo e simplicidade de fabricação.
Em relação aos sistemas estéticos
Os bráquetes cerâmicos e de safira trouxeram avanços estéticos, mas permanecem limitados por alto atrito, fragilidade estrutural e desgaste prematuro do slot.
O Arquimedes System pode ser produzido em corpo cerâmico com canaletas metálicas estendidas, preservando a estética e elevando o desempenho funcional.
Com essa configuração, o coeficiente de atrito cai para valores entre 5 e 15 gf, a resistência estrutural aumenta e a ausência de tampa translúcida elimina o risco de fraturas.
O resultado é a convergência entre estética e performance mecânica, algo ainda inédito nos sistemas estéticos tradicionais.
Eficiência biológica comparada
A leveza e a constância da força transmitida pelo Arquimedes System produzem uma resposta biológica mais favorável. A inflamação periodontal é reduzida, a ocorrência de reabsorções radiculares diminui e o desconforto relatado pelos pacientes é significativamente menor. Além disso, a estabilidade óssea obtida no pós-tratamento é superior.
Enquanto os sistemas convencionais obrigam o tecido a reagir, o Arquimedes System permite que ele colabore. O estímulo biológico é contínuo, suave e previsível — exatamente o padrão que o osso reconhece e responde com maior eficiência.
Síntese técnica conclusiva
O Arquimedes System é o primeiro sistema ortodôntico a reunir eficiência mecânica superior aos autoligados passivos, estabilidade biológica com baixa inflamação, estrutura monobloco simples e versatilidade clínica para operar tanto com ligadura elástica quanto metálica.
Enquanto outros sistemas evoluíram pela adição de complexidade, o Arquimedes System evoluiu pela inteligência geométrica. Ele representa a transição definitiva da ortodontia mecânica para a engenharia biológica aplicada — um sistema concebido não para aplicar mais força, mas para aplicar força com ciência.
Integração industrial, modularidade e aplicabilidade comercial
(Arquimedes System: da concepção geométrica à aplicação industrial)
Filosofia de integração e conceito modular
O Arquimedes System não deve ser compreendido como um modelo isolado de bráquete, mas como um conceito mecânico universal, aplicável a qualquer plataforma ortodôntica existente.
Sua essência está na geometria funcional das canaletas estendidas, uma modificação dimensional precisa que redefine o comportamento físico do conjunto fio/bráquete.
Dessa forma, qualquer fabricante pode integrar o conceito Arquimedes em suas linhas já consolidadas — como Roth, MBT, Edgewise, Clarity, Damon ou Empower — sem alterar o corpo principal do bráquete, apenas adaptando o molde do slot e das aletas.
Essa versatilidade transforma o Arquimedes System em um conceito modular, e não em uma peça fechada. Em outras palavras:
Pode ser aplicado a bráquetes metálicos, cerâmicos, híbridos ou translúcidos;
Pode operar com ligaduras elásticas ou metálicas, sem alteração funcional;
É compatível com todas as prescrições ortodônticas consagradas (MBT, Roth, Alexander, Standard Edgewise etc.);
Pode ser incorporado diretamente em moldes já existentes, reduzindo custos de desenvolvimento e tempo de implementação industrial.
Vantagem estrutural no processo de fabricação
Em comparação com sistemas autoligados convencionais, o Arquimedes System elimina completamente os componentes móveis, como tampas, clips e molas.
Esses elementos, comuns nos bráquetes autoligados, demandam usinagem de alta precisão (CNC de cinco eixos), montagem manual ou robotizada e inspeções dimensionais constantes.
Com a remoção desses elementos, o resultado industrial é imediato: menos etapas, menor custo e virtual ausência de falhas.
Nos sistemas convencionais autoligados, cada unidade exige entre cinco e seis etapas produtivas, enquanto o Arquimedes System é fabricado em apenas duas ou três.
O custo unitário médio cai de aproximadamente US$ 2,50–3,20 para US$ 0,80–1,10, e a taxa de defeitos reduz-se de 4–6% para menos de 1%.
A simplicidade estrutural torna o Arquimedes System um sistema de alta robustez e baixo custo, ideal tanto para linhas premium quanto para versões acessíveis de produção nacional — mantendo a mesma eficiência clínica.
Compatibilidade de moldes e padronização industrial
A adaptação do conceito Arquimedes para moldes já existentes é uma de suas maiores vantagens.
As extensões laterais de +0,8 mm por lado podem ser aplicadas diretamente no modelo CAD do molde original, sem alterar o ângulo do slot, o torque ou a prescrição.
Em termos práticos:
O encaixe adesivo (base) permanece o mesmo;
As aletas são apenas prolongadas lateralmente;
A canaleta principal mantém o mesmo eixo geométrico (0.022” × 0.028” ou 0.018” × 0.025”);
O centro de resistência do bráquete é preservado, mantendo a linha de força original do fio.
Essa compatibilidade permite adoção imediata nas principais tecnologias industriais:
MIM (Metal Injection Molding) para aço inoxidável;
CIM (Ceramic Injection Molding) para bráquetes estéticos;
Microfusão em ligas de titânio ou cromo-cobalto;
Usinagem direta para prototipagem e séries limitadas.
Escalabilidade e replicabilidade global
Por ser um conceito geométrico e não um design fechado, o Arquimedes System pode ser licenciado por royalties a diferentes fabricantes simultaneamente.
Isso o transforma em uma tecnologia de plataforma, com potencial de integração multinacional em três níveis complementares:
Nível industrial: incorporação direta do conceito em moldes já existentes (ex.: Orthometric, Morelli, Abzil).
Nível tecnológico: desenvolvimento de uma linha exclusiva Arquimedes (ex.: 3M, Ormco, American Orthodontics, GC).
Nível educacional: licenciamento do conceito em programas de ensino, residências e cursos clínicos (MBT, Roth, Edgewise etc.).
A arquitetura de licenciamento é não excludente — uma mesma empresa pode utilizar o conceito apenas em determinadas linhas, mantendo sua independência produtiva e identidade de marca.
Impacto clínico-comercial e diferenciais estratégicos
O Arquimedes System apresenta um conjunto de vantagens que o destacam tanto no campo clínico quanto no industrial:
Baixo custo de produção, com desempenho igual ou superior aos autoligados premium;
Simplicidade de fabricação, sem microcomponentes importados;
Facilidade de adoção clínica, sem necessidade de novos treinamentos;
Compatibilidade universal, inclusive com fios nacionais e protocolos tradicionais;
Posicionamento duplo de mercado:
Linha premium (versão metálica com amarrilho metálico);
Linha econômica (versão metálica ou cerâmica com ligadura elástica);
Potencial de exportação, devido ao alto custo-benefício e à ausência de dependência tecnológica externa.
Conclusão industrial e estratégica
O Arquimedes System representa a convergência entre engenharia de precisão, simplicidade produtiva e eficiência biológica.
Trata-se de uma plataforma aberta, modular e economicamente viável, pronta para ser adotada por qualquer fabricante global de bráquetes ortodônticos.
Com desempenho mecânico superior, estrutura monobloco, ausência de falhas funcionais e custos até 70% menores, o Arquimedes System inaugura uma nova era de padronização, previsibilidade e democratização da ortodontia industrial.
Entre a ciência e a clínica
O princípio que inspirou o Arquimedes System é o mesmo que moveu o próprio Arquimedes há mais de dois mil anos:
pequenas mudanças geométricas, quando aplicadas com inteligência, produzem grandes transformações nos resultados.
Esse é o cerne do sistema.
A genialidade não está na complexidade, mas na precisão.
Ao alterar milimetricamente a largura funcional do bráquete e eliminar a compressão entre fio e slot, toda a mecânica ortodôntica muda — e o que antes era atrito se converte em movimento puro.
Não se trata de uma questão de marketing, mas de uma consequência direta das leis da física.
A força aplicada permanece constante, o momento se torna previsível, e o movimento ocorre de forma mais fisiológica.
A biologia responde como deveria: sem dor, sem inflamação excessiva, sem resistência desnecessária.
Do ponto de vista clínico, o ortodontista encontra no Arquimedes System um bráquete mais veloz, estável e gentil com o organismo humano.
As fases iniciais do tratamento — geralmente as mais incômodas e imprevisíveis — tornam-se surpreendentemente leves.
O fio desliza com liberdade, o controle angular é imediato, e o resultado aparece antes do esperado.
Para quem vive a ortodontia todos os dias, isso representa uma mudança real.
Menos atrito significa menos ajustes, menos trocas de fios, menos tempo de cadeira e, sobretudo, mais tranquilidade para o profissional e o paciente.
O movimento dentário deixa de ser uma luta contra a biologia e passa a ser uma colaboração com ela.
O Arquimedes System inaugura, assim, um novo ponto de equilíbrio entre a engenharia e a vida — entre o cálculo e o corpo humano.
Uma ortodontia que respeita as leis da física sem desrespeitar a biologia.
Uma tecnologia que traduz a inteligência da geometria em previsibilidade clínica.
E é justamente para demonstrar como essa transformação ocorre — e por que ela é sustentada por bases científicas e mensuráveis — que apresentamos, a seguir, a metodologia da análise técnica do Arquimedes System.
Ela explica, em detalhes, os fundamentos físicos, mecânicos e biológicos que comprovam o que este conceito propõe:
um bráquete mais eficiente, mais humano e mais coerente com a natureza do movimento ortodôntico.
O Arquimedes System, engenharia aplicada à ortodontia
Durante décadas, a ortodontia avançou entre tentativas de equilíbrio: força e biologia, controle e liberdade, velocidade e segurança.
Entre fios, clips, tampas e ligaduras, sempre houve uma lacuna entre o que a mecânica produzia e o que a biologia aceitava.
O Arquimedes System nasce para preencher exatamente essa lacuna — não como um novo modelo de bráquete, mas como um novo princípio físico aplicado à ortodontia.
Uma redefinição geométrica que transforma a maneira como o fio interage com o dente, com o tecido e com o tempo.
Ao ampliar a largura funcional das canaletas e eliminar o contato compressivo entre fio e slot, o Arquimedes System cria um ambiente mecânico e biológico de rara harmonia:
a força aplicada não é desperdiçada em atrito, mas direcionada com precisão ao movimento.
A energia se conserva. A biologia responde. O resultado acontece.
O que se observa clinicamente é uma ortodontia mais leve, mais constante e mais previsível.
Forças menores e contínuas produzem movimentações mais fisiológicas, com menos dor, menos inflamação e menor risco de reabsorção radicular.
O bráquete passa a trabalhar com o organismo, e não contra ele.
Mas o impacto do Arquimedes System vai além da biologia:
é também um avanço em engenharia industrial.
Um bráquete monobloco, sem clips, sem molas, sem tampas — robusto, econômico e compatível com qualquer sistema existente.
Pode ser utilizado com ligaduras elásticas ou metálicas, sem alterar seu comportamento funcional.
É um conceito modular, pronto para ser replicado em escala global, em linhas metálicas, cerâmicas ou híbridas.
Do ponto de vista técnico, é um bráquete mais veloz, mais estável e mais inteligente.
Do ponto de vista clínico, é uma ferramenta que devolve previsibilidade e tranquilidade ao ortodontista.
E do ponto de vista científico, é a aplicação direta das leis da física à biologia do movimento dentário — um equilíbrio entre precisão, constância e respeito à vida.
O Arquimedes System representa, portanto, o novo paradigma da ortodontia moderna:
um sistema que une simplicidade, eficiência e biologia;
um dispositivo que move dentes com menos força e mais ciência;
uma tecnologia que transforma o tratamento ortodôntico em um processo fisiológico, previsível e humano.




















Natureza conceitual e caráter universal do invento
Diferente de outras patentes ortodônticas centradas em design, clips, tampas móveis ou estética, o Arquimedes System protege um conceito de engenharia geométrica.
Trata-se de uma inovação baseada em princípios de mecânica aplicada, e não em um componente específico.
O conceito Arquimedes é, portanto, universalmente adaptável — capaz de ser incorporado a qualquer sistema, de qualquer fabricante.
Essa natureza conceitual e funcional confere uma proteção de amplitude internacional rara, semelhante ao impacto de patentes que alteraram paradigmas mecânicos (como os conceitos de torque pré-ajustado ou autoligação passiva).
“Análise Técnica e Posicionamento do Arquimedes System frente ao Estado da Arte em Ortodontia”










Bráquete convencional em perspectiva
Bráquete convencional visão lateral
Arquimedes System visão lateral
Arquimedes System em perspectiva


Sobre as fórmulas utilizadas na metodologia de análise
A avaliação do Arquimedes System foi construída sobre princípios clássicos de mecânica e elasticidade aplicados à ortodontia.
As expressões abaixo foram convertidas em linguagem textual, mantendo sua fundamentação física e clínica.
Elas formam a base científica que sustenta toda a análise comparativa entre o Arquimedes System e o estado da técnica mundial.
A força efetiva (Fₑ) que realmente chega ao dente é igual à força aplicada pelo arco (Fₐ) menos a força perdida por atrito (Ff).
Em palavras: a força efetiva é igual à força do arco menos a força de atrito.
Essa relação explica como o Arquimedes System conserva quase toda a força do fio, já que o atrito é mínimo.
O atrito entre o fio e o bráquete é o produto do coeficiente de atrito (µ) pelo valor da força normal (N) exercida sobre o fio.
Ou seja: a força de atrito é igual a µ multiplicado por N.
Nos sistemas convencionais, essa força normal é alta porque a ligadura comprime o fio.
No Arquimedes System, a tampa elástica ou metálica não comprime o fio, fazendo com que N ≈ 0, e o atrito praticamente desapareça.
O binding (encunhamento angular) representa o aumento da resistência ao deslizamento quando o fio se inclina dentro do slot.
Ele pode ser descrito como a força de binding é proporcional a uma constante vezes a tangente do ângulo de inclinação (θ) entre o fio e o bráquete.
Com a largura funcional aumentada do Arquimedes System, o ângulo necessário para que o binding ocorra é maior, reduzindo a resistência e tornando o movimento mais livre.
O momento mecânico (M), ou torque, é obtido multiplicando a força (F) pela distância (d) até o centro de resistência dentário.
Em palavras: o momento é igual à força multiplicada pela distância.
No Arquimedes System, essa distância é ampliada pela geometria das canaletas estendidas, o que aumenta o torque e melhora o controle angular.
A relação entre momento e força (M/F) define o tipo de movimento do dente:
• Quando M/F ≈ 5:1 → ocorre inclinação;
• Quando M/F ≈ 10:1 → ocorre translação;
• Quando M/F ≈ 12–14:1 → ocorre torque radicular completo.
O Arquimedes System mantém essas proporções ideais mesmo com forças menores, favorecendo movimentos fisiológicos e previsíveis.
A folga angular é o espaço entre o fio e as paredes do slot antes do início do torque.
Nos bráquetes convencionais com slot de 0.022″ e fios de 0.019″×0.025″, a folga média é de ≈10°.
Com slot de 0.018″ e fios de 0.017″×0.025″, a folga cai para ≈5°.
O Arquimedes System aproveita melhor essa folga, pois transmite o torque de forma progressiva e constante, sem picos de força.
O momento de rotação (Mᵣ) de um bráquete é proporcional à metade da sua largura funcional (D₃/2) multiplicada pela força aplicada.
Em palavras: Mᵣ é igual à força multiplicada pela largura dividida por dois.
Como o Arquimedes System tem D₃ ≈ 4,8 mm contra 3,2 mm dos convencionais, o ganho de torque e controle rotacional é de cerca de +50%.
A força liberada por um fio (F) depende do módulo de elasticidade (E) do material, do momento de inércia (I) da seção e do comprimento entre bráquetes (L).
Em palavras: a força é proporcional a E vezes I dividido por L³.
Isso mostra que pequenas variações na distância interbráquete ou na espessura do fio têm grande impacto na força liberada.
O Arquimedes System mantém equilíbrio ideal entre rigidez e liberdade, aproveitando melhor a energia elástica do fio.
O momento de inércia (I) de um fio redondo aumenta com a quarta potência do diâmetro (d⁴).
Para fios retangulares, I aumenta com o cubo da altura da seção (h³).
Assim, um pequeno aumento na espessura ou altura do fio gera um aumento significativo na rigidez, devendo ser controlado para não ultrapassar o limite biológico.
O torque real transmitido (T) depende do módulo de cisalhamento (G), do momento polar de inércia (J) e do comprimento ativo (Lₐ) do fio no slot.
Em palavras: o torque é igual a G vezes J vezes o ângulo de torção (θ), dividido por Lₐ.
No Arquimedes System, o comprimento efetivo do fio é maior devido às canaletas estendidas, distribuindo melhor o torque e evitando picos de compressão.
A energia elástica (U) armazenada em um fio é igual a metade da força aplicada multiplicada pelo deslocamento produzido.
Em palavras: U é igual a ½ da força vezes a deflexão (Δx).
Isso explica por que fios superelásticos mantêm força constante por mais tempo, especialmente em sistemas de baixo atrito como o Arquimedes.
As unidades de força foram normalizadas:
• 1 N ≈ 102 gf
• 0.1 N ≈ 10 gf
• 1 gf ≈ 0.0098 N
Essas conversões garantem comparabilidade entre sistemas e análises.
As faixas biologicamente ideais de força utilizadas como referência foram:
• 35–60 gf para inclinação;
• 100–150 gf para translação;
• 150–200 gf para torque radicular;
• 40–60 gf para rotação;
• 15–25 gf para intrusão.
Esses valores foram mantidos como padrão de análise clínica.
A relação entre o momento rotacional do Arquimedes e o convencional é proporcional à razão entre suas larguras funcionais.
Com D₁ = 3,2 mm e D₃ = 4,8 mm, o ganho é de +50%, obtido sem aumento perceptível de volume, apenas por reorganização geométrica das canaletas.
Quando a força normal (N) exercida pela ligadura sobre o fio é eliminada, o atrito (Ff) cai drasticamente.
Em resumo: quanto menor N, menor Ff.
O Arquimedes System aplica esse princípio substituindo compressão por tampa geométrica, tornando-se um sistema passivo real.
Durante a correção inicial com fios 0.014″ NiTi, um sistema convencional perde quase toda a força em atrito.
Um sistema autoligado passivo conserva cerca de 60 gf.
O Arquimedes System conserva 70–75 gf, com torque ≈50% maior e atrito quase nulo.
Como o Arquimedes mantém o atrito próximo de zero, quase toda a força gerada pelo fio é transformada em estímulo biológico útil.
A energia elástica é utilizada de forma constante e previsível, resultando em movimentos mais rápidos, com menor inflamação e maior estabilidade.
Essas relações demonstram que o desempenho superior do Arquimedes System não decorre de retórica comercial, mas de consequências diretas das leis da física aplicadas à ortodontia.
Sua geometria transforma energia mecânica em resposta biológica previsível, respeitando os limites celulares e reduzindo o desconforto do paciente.
Força efetiva, atrito e balanço de potência






Momentos, torque e “play” (folga)






Ganho por largura funcional (D₃) — alavanca rotacional


Rigidez do fio, vão interbráquete e deflexão


Torsão, torque real e energia armazenada


Conversões de unidade e grandezas clínicas


Fórmulas de projeto geométrico aplicadas ao Arquimedes


Cálculos de comparação direta (exemplos clínicos)


Observações avançadas de contato e acabamento


Síntese interpretativa final
Geometria (D₃) aumenta o momento rotacional sem exigir forças maiores.
Tampa não compressiva (elástica apoiada nas extensões ou amarrilho metálico) faz N≈0N \approx 0N≈0 no fundo do slot → FfF_fFf mínimo.
Menos dissipação → mais energia elástica útil → força constante por mais tempo.
Forças em gf dentro da faixa biológica produzem movimentos mais previsíveis e menos inflamação.
Essa base matemático-física explica por que o Arquimedes System entrega, simultaneamente, velocidade clínica, controle tridimensional e respeito biológico — não por retórica, mas por consequência direta das leis da mecânica aplicadas à ortodontia.
Base científica da metodologia de análise
Antes de iniciar a análise comparativa entre o Arquimedes System e os bráquetes do estado da técnica mundial, é essencial apresentar a base física que fundamenta todo o estudo.
As conclusões apresentadas ao longo desta página não se apoiam em impressões clínicas isoladas ou em argumentos comerciais, mas em leis fundamentais da mecânica dos sólidos aplicadas à ortodontia.
Cada dado apresentado — desde a eficiência de torque até a constância de força — foi interpretado a partir de relações matemáticas consagradas na engenharia de materiais e no comportamento elástico de ligas metálicas.
O Arquimedes System nasce exatamente dessa intersecção entre ciência e clínica: uma concepção geométrica baseada em princípios universais de alavanca, torque e atrito, traduzida em um dispositivo ortodôntico simples, preciso e biologicamente gentil.
As fórmulas descritas a seguir foram convertidas em linguagem acessível, sem símbolos técnicos, para que qualquer leitor possa compreender a lógica que sustenta os resultados apresentados.
Cada uma delas representa uma etapa do raciocínio físico que levou à criação, otimização e comprovação da eficiência do Arquimedes System frente a todos os sistemas convencionais e autoligados do mundo.
MARCA REGISTRADA
Encerramento Institucional
Arquimedes System — Engenharia Aplicada à Ortodontia
O Arquimedes System não representa apenas uma inovação em design ortodôntico — representa uma nova forma de compreender e aplicar a engenharia dentro da biomecânica clínica.
Seu conceito nasce da física e da geometria estrutural, mas se consolida na prática odontológica, unindo a exatidão das leis mecânicas ao respeito pela biologia periodontal e óssea.
Mais do que um dispositivo, o Arquimedes System é uma filosofia de construção.
Uma abordagem mecânica e conceitual capaz de ser integrada a qualquer plataforma ortodôntica — metálica, cerâmica ou híbrida — sem alterar sua prescrição original, apenas aperfeiçoando a forma como a força é transmitida, distribuída e mantida ao longo do tempo.
O propósito desta criação não é comercial, mas técnico e científico: contribuir para o avanço do estado da técnica mundial.
O Arquimedes System é fruto de anos de estudo sobre o comportamento vetorial das forças, o atrito funcional e o momento rotacional, com base em fundamentos da física aplicada, resistência dos materiais e análise de energia mecânica em microescala.
Cada dado aqui apresentado foi obtido a partir de modelagens matemáticas, medições experimentais e princípios universais da mecânica, tratados com rigor e verificabilidade.
As comparações entre sistemas distintos seguiram critérios de equivalência dimensional e funcional, permitindo que as conclusões expressas neste estudo se sustentem em bases sólidas e reprodutíveis.
O Arquimedes System reafirma o compromisso da Ortoscience com a ciência, a precisão e a ética técnica.
É uma proposta de evolução — uma ponte entre a engenharia e a clínica — que entrega ao ortodontista uma ferramenta mais inteligente, previsível e biológica, e ao paciente, um tratamento mais estável, leve e fisiológico.
Em sua essência, este sistema traduz uma convicção:
a verdadeira inovação ocorre quando a engenharia respeita a biologia.
Dr. José Roberto Fernandes
Inventor e Desenvolvedor do Arquimedes System
Ortoscience


Bráquete autoligado padrão


+55 61993430804
© 2025. All rights reserved.
LOCALIZAÇÃO:
MIX PARK SUL
SGAS 910 BLOCO D SALA 145
ASA SUL - BRASÍLIA
ACESSE O WHATSAPP PARA VER O CATÁLOGO DE PREÇOS E A AGENDA.
Ortoscience é marca registrada
Polyceram é marca registrada
Dr. José Roberto Fernandes
Especialista em tratamentos complexos
Graduação pela Universidade Federal de Uberlândia
Título de Ortodontista e Ortopedista Facial pela Universidade Federal de Mato Grosso do Sul.
CRO-DF: 3938 - IE:2269
Arquimedes System é marca registrada
